鋯為稀有高熔點金屬,熔點為1852 ±2 ℃,沸點為4377 ℃,密度為6.49 g/cm 3 。金屬鋯的熱中子吸收截面很小(0.18 b),被廣泛用于制作核反應堆堆芯的包殼材料〔1-4〕 。同時鋯作為合金材料具有優異的耐蝕性、強度及加工性能〔5〕 ,金屬鋯及其合金在石油化工〔6〕 、有色冶金 〔7〕 、鋼鐵冶金 〔8〕 等領域均得到廣泛的應用。金屬鋯的純度能顯著影響其金屬的固有特性。因此,研究高純金屬鋯的制備方法得到了國內外學者的廣泛關注。碘化精煉法〔9〕 是制備高純金屬鋯的重要方法,其制備的結晶鋯棒具有純度高、氣體含量小、加工性能好等諸多優點,國內外關于碘化制備結晶鋯的研究成為熱點。本文簡述了碘化法生產鋯晶棒的原理,并重點對碘化設備和碘化提純影響因素的研究進展進行了綜述。

1、 碘化法原理
碘化法最早起源于 1896 年,是制備多種高純金屬的一種重要方法。其原理〔10-12〕 是在真空密閉容器中,碘蒸氣在較低溫度下與粗金屬發生反應,生成可揮發性的四碘化物,生成的四碘化物擴散至溫度較高的熾熱母絲上時發生分解,生成純金屬和碘蒸氣,金屬沉積在母絲上,使母絲不斷長大,碘蒸氣則返回低溫區繼續與原料粗金屬反應,過程反復進行,碘起“搬運工”作用。其過程可用如下流程表示:

圖 1 原理流程示意圖
Fig. 1 Schematic diagram of the process principle
碘化提純金屬的三個主要條件為:1)金屬能在較低溫度下生成較易揮發的化合物;2)所生成的化合物應能在低于金屬熔點的較高溫度下分解;3)化合物的分解和金屬的沉積速度應大于絲上金屬的蒸發速度。鈦、鋯、鉿是符合以上條件的典型金屬,因此碘化法主要應用于金屬鈦、鋯、鉿的提純制備。由于碘不與金屬氧化物、氮化物等發生反應,因此,碘化法能顯著降低金屬中的氣體雜質含量。同時,對多種不與碘發生反應或與碘反應不生成揮發性碘化物的金屬雜質也具有良好的去除效果。Emelyanov等〔10〕 對碘化法制備結晶鋯棒的工藝過程進行了研究,其反應過程可用如下反應式表示:低溫區:(粗鋯)
Zr(s) +2I 2 → ZrI 4 (1)
生成的 ZrI 4 在高溫母絲上分解為金屬鋯和碘原子:
高溫區: (粗鋯)ZrI 4 → Zr(s) +4I(g) (2)
2、 碘化提純設備
碘化提純的設備在碘化過程中起著非常重要的作用。碘化提純是在真空密閉容器中進行,反應罐通常設置兩個溫度區域,低溫區放置原料,用以生成揮發性碘化鋯。高溫區設置母絲,用來沉積金屬鋯。另外,設置有加碘系統、真空系統、電控系統和控溫系統等部分。早期的試驗研究所用碘化反應裝置通常以石英制成,其示意圖如圖 2 所示〔13〕 。這種裝置僅能對碘化反應進行一些機理研究,無法實現工業生產。

圖 2Emelyanov 實驗室反應器示意圖〔13〕
Fig. 2 Schematic diagram of Emelyanov’slaboratory reactor
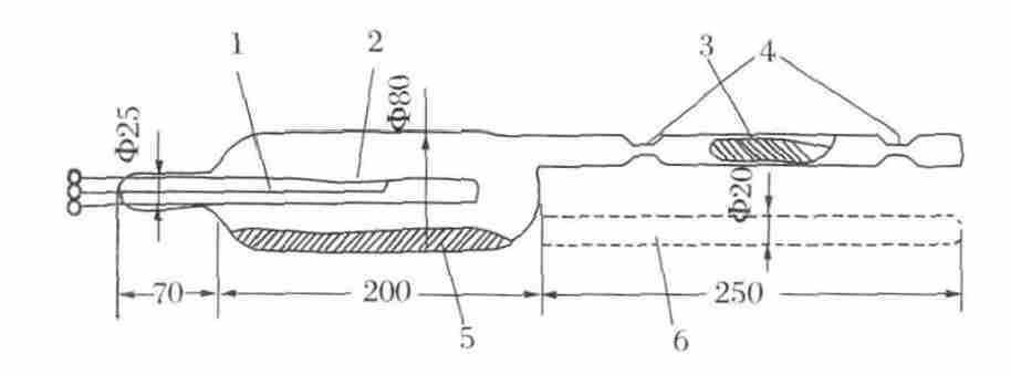
1—直徑 2mm 的鉬絲;2—直徑 0. 1mm 的鎢絲;3—含碘瓶;4—密封圈;5—粗鋯;6—輔助管
為了實現工業生產,國內外設計了各種裝置。由于碘化過程主要反應在兩個溫區,即低溫區(原料和碘合成四碘化物)和高溫區(四碘化物分解),因此設備在控溫方式上區別較大。主要包括風冷控溫、水冷鹽浴控溫、油冷鹽浴控溫和鹽浴控溫等幾種。風冷控溫如圖 3 所示〔14〕 ,反應容器采用不銹鋼罐式結構。罐體連接真空系統,獲得真空環境。罐體采用外熱式加熱爐加熱,獲得碘化溫度。罐內母絲通電自熱,獲得分離結晶溫度。反應過程放熱時,用冷卻風機降溫。反應容器采用不銹鋼按真空容器設計;真空系統使容器獲得必要真空,防止稀有金屬氧化和獲得潔凈環境。

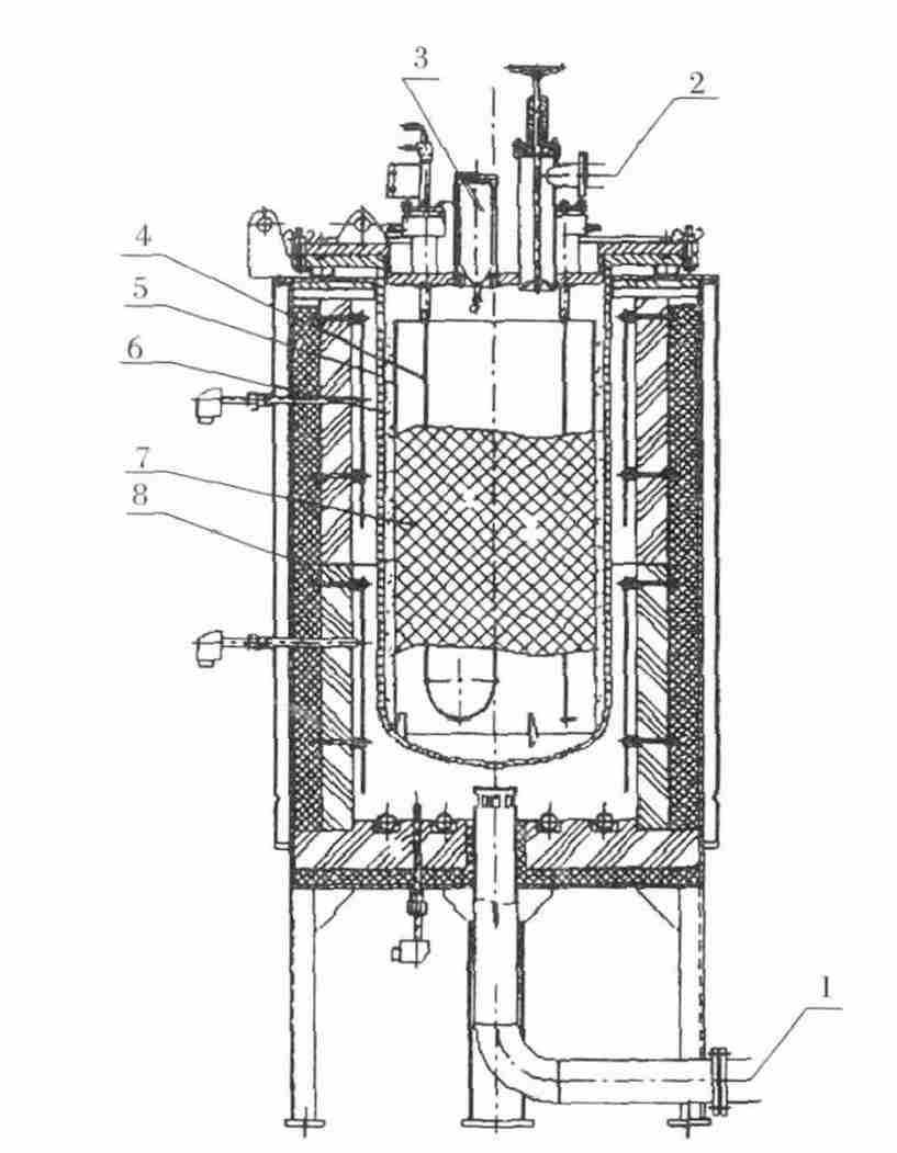
圖 3 王永勝反應設備示意圖 〔14〕
Fig. 3 Thereaction equipment of Wang Yongsheng
1—風管;2—真空系統;3—加碘瓶;4—鋯母絲;5—反應罐; 6—粗鋯;7—鉬屏;8—電阻絲
該碘化裝置由于采用底部吹風控溫,在碘化反應過程中,易導致反應罐底部溫度過低,而罐體上部溫度卻得不到有效控制,因此,碘化反應進行時間較短。尹延西等〔15〕 研究了另外一種反應爐爐體風冷控溫裝置,其裝置使罐底和罐壁所受風壓大體相同,可以有效的使罐壁受熱均勻,如圖 4 所示。雖然風冷的方式可以有效的調節爐壁溫度,但是對于爐壁溫度的測試不是很準確。陳懷浩等〔16〕設計了一種碘化反應裝置,其裝置采用油冷熔鹽控溫,這種方法進一步改善了爐壁溫度的控制問題。

圖 4 一種風冷控溫裝置示意圖 〔15〕
Fig. 4 Schematic diagram of a temperature controlling device by air cooling
(左圖為裝置剖面主視圖;中間圖為縱向出風口的排布;右圖為剖面俯視圖)
1—送風管;2—圓盤形總風管;3—分風管;4—出風口;5—出風口;6—反應爐殼;7—反應爐體;8—熱交換器;9—變頻風機;10—出水口;11—進水口
可以有效地控制爐壁溫度,而且使用熱電偶可以比較準確地測出其爐壁溫度。美國采用鹽浴控溫方式進行控溫,也可有效控溫,生產效率高,但存在設備比較復雜,連續生產困難等問題。
3、 碘化影響因素
金屬鋯碘化提純是個比較復雜的過程,原料、原料溫度、母絲溫度及加碘量等均對提純效果具有影響。上述因素對碘化過程的影響分述如下。
3.1 原料
碘化原料通??蔀楹>d鋯或后期加工的鋯車屑廢料等。原料的形狀、表面氧化程度和表面氣體附著情況顯著影響著碘化反應速度。
原料的形狀決定了原料的接觸面積,接觸面積越大,反應越快。因此在制作反應設備時一般將原料鋯置于反應器壁上,并用鉬屏隔料網阻隔,這樣就使得其有充分大的接觸面積。當原料的表面被氧化,則阻礙反應的進行,對于某些被氧化的金屬鋯,需要先進行表面處理,應將表面的氧化薄膜去除。由于原料長時間放置在空氣中,原料表面上往往吸附有一定量氣體,一般需要預先除氣。Kotsar 等〔17〕在碘化反應前對原料鋯先進行了脫氣處理,其工藝條件為:溫度 400 ~ 450 ℃,時間 8 ~ 10 h,真空度1.33 ×10-2Pa。
3.2 原料溫度
原料溫度決定了生成可揮發性碘化鋯的種類與生成的速度。Fast〔18〕 研究發現,隨著原料溫度升高,沉積速率增加,并出現極大值,隨著溫度進一步升高,沉積速率降低,如圖 5 所示。沉積速率降低的原因是生成了低價碘化鋯,覆蓋于原料表面,阻礙了碘蒸氣與原料的進一步反應。而 Doring 和 Moliere〔19〕研究發現,在沉積速率出現極大值降低以后,隨著溫度升高會出現第二個極大值,這是因為覆蓋在原料表面的低價碘化鋯隨著溫度升高進一步和碘蒸氣反應生成了可揮發、高溫下可分解的四價碘化鋯,原料可以繼續和碘蒸氣接觸反應。Emelyanov 等〔13〕 進一步研究了原料的溫度對反應速率的影響,并用沉積速率隨反應器內四碘化鋯蒸氣溫度的變化證明了Fast 的觀點,即原料溫度升高,四碘化鋯蒸氣溫度升高,沉積速率增加,并出現極大值,結果如圖 6 所示。

圖 5 原料溫度與沉積速率的關系 〔18〕
Fig. 5 Process rate as a function of material temperature

圖 6 ZrI 4 溫度與沉積速率的關系 〔13〕
Fig. 6 Process rate as a function of tetraiodide temperature
同時還發現,如果四碘化鋯蒸氣壓穩定在碘化反應所需范圍內,則在原料溫度繼續增加時,沉積速率可以保持不變。所以,為了更好地得到碘化沉積速率,碘化反應設備應能達到所需真空度并能維持在所需范圍內。在目前工業化生產中,Kotsar 等〔17〕 在研究時認為粗鋯溫度設定在 250 ℃ 左右最好。陳懷浩等〔16〕研究碘化法制備結晶鋯棒時也有相似的結論,認為碘化過程中在粗鋯溫度 230 ~ 260 ℃時反應進行的較快。
3.3 母絲溫度
反應時母絲的溫度即為可揮發性碘化鋯分解時的溫度,母絲的溫度決定了碘化鋯能否在母絲上分解和在熱絲上的分解反應的快慢問題。對于絲溫的控制,目前一般采用 K 值來表征絲溫溫度〔19〕 ,K =UI 1/3 ,可在碘化前測定絲溫,根據當時的電流、電壓計算 K 值,建立絲溫與 K 值的對應關系,在操作過程中,通過調節電流、電壓的方法保持 K 值恒定而使絲溫恒定。
母絲溫度對沉積速率有明顯影響,De boer 和Fast〔18〕 認為,在碘化過程的后期,高的絲溫使得沉積速率非常快,Doring〔19〕 等也得到了相似的結論,絲溫加快了沉積速率直到 1500 ℃。而 Raynor〔21〕 則認為低至 1200 ~ 1300 ℃ 時,沉積速率變為一恒定的常數。Shapiro〔22〕 研究表明,絲溫小于 1400 ℃,沉積速率和絲溫正相關,超過1400 ℃,沉積速率增長減小,到 1450 ℃后,沉積速率停止增加。Emelyanov 等〔13〕進行了進一步的試驗研究,其結果如圖 7 所示。在1000 ~1435 ℃時,母絲溫度強烈影響沉積速率,隨著絲溫的升高,沉積速率增大。而陳懷浩等〔16〕 研究碘化法制備結晶鋯棒時認為母絲溫度在 1400 ℃時更適合反應的進行。

圖 7 母絲溫度與直徑增長速率的關系
Fig. 7 Dependence of the process rate on the filament temperature
絲溫對鋯的形核過程也有一定影響,吳享南等〔20〕 認為在操作過程中沉積初期取較低溫度,使其較多形核,與母絲結合牢固,此時晶粒較小,沉積到一定程度后升高絲溫,使沉積速度增加。
3.4 加碘量
碘是反應器中非常重要的角色,碘的含量直接影響著反應的進度。同時也影響著反應器中的氣壓的大小。加碘量對沉積速率也有影響,Shapiro〔22〕 研究表明,加碘量影響沉積速率的大小。在碘化過程中,小的加碘量在碘化開始后不久,沉積速率會急劇下降,而隨著加碘量增加,沉積速率增加。這種沉積速率的急劇下降是因為生成了不易揮發的低價碘化鋯。而 Raynor〔21〕 研究表明,隨著加碘量的增加,沉積速率會出現最大值。其結果如圖 8 所示。但 Shapiro和 Raynor 的加入碘量對于碘化過程都是過量的。

圖 8 加碘量與沉積速率的關系 〔21〕
Fig. 8 Dependence of process rate on iodine dosage

圖 9 加碘量與 ZrI 4 氣壓的關系 〔13〕
Fig. 9 Dependence of tetraiodide vapor pressure on iodine dosage
Emelyanov 等〔13〕 從加不足量的碘的角度進行了進一步的實驗研究,碘化過程開始后迅速結束,明顯的原因是生成了低價碘化鋯。Emelyanov 等〔13〕 研究表明反應器中 ZrI4 氣壓的大小隨著加碘量的增加開始時呈現直線的關系,到一定程度不再變化趨于穩定,如圖 9 所示(依據Emelyanov 原始數據作圖)。陳懷浩等〔16〕 研究碘化法制備結晶鋯棒時認為初始真空度為 6.0 ×10-3 Pa時比較合適。
表 1 為工業上原料提純和產品的雜質成分分析表〔17〕 。目前工業上將金屬鋯的純度提高到 3N 以上,尤其是可以有效地除去原料中的氣體雜質。

4 、結語
碘化法制備結晶鋯是提純金屬鋯的有效方法,從實驗室試驗到工業生產已經歷幾十年,制備的結晶鋯棒純度高、氣體雜質含量低、加工性能好,純度可達 3N 以上,是目前提純金屬鋯所用的主要手段之一。但碘化法提純鋯影響因素比較多,設備能耗大,因而仍有很多問題亟待解決。
參考文獻:
〔1〕熊炳昆 .鋯的核性能及其在核電工業中的應用[J].稀有金屬快報,2005,24(3): 43-44.
〔2〕王 峰,王快社,馬林生,等.核級鋯及鋯合金研究狀況及發展前景[J].兵器材料科學與工程,2012,35(1):107-110.
〔3〕劉承新 .鋯合金在核工業中的應用現狀及發展前景[J]. 稀有金屬快報,2004,23(5): 21-23.
〔4〕Kotsar M L,Lavrikov S A,Nikonov V I,et al.High-puritytitanium,zirconium,and hafnium in nuclear power[J].A-tomic energy.2011,111(2):92-98.
〔5〕熊炳昆,溫旺光,楊新民,等 .鋯鉿冶金[M].北京:冶金工業出版社,2002:1-18.
〔6〕熊炳昆 .金屬鋯在石化工業中的應用[J].稀有金屬快報,2005,24(8):45-47.
〔7〕熊炳昆 .鋯在有色金屬材料中的應用[J].稀有金屬快報,2005,24(6): 45-47.
〔8〕熊炳昆 .金屬鋯在黑色冶金中領域中的應用[J].稀有金屬快報,2005,24(7),45-47.
〔9〕Stepanova G I,Busol F I.The iodide method of refiningzirconium[J].Atomic Energy,1957,3(4): 1177-1181.
〔10〕Emelyanov V S,Bysttov P D,Evstyukhin A I.A study of the iodide process of refining zirconium[J].Atomic Ener-gy,1956,1(3): 415-424.
〔11〕Loonam A C.Principles and applications of the iodide process[J].Journal of The Electrochemical Society,1959,106(3): 238-244.
〔12〕Sinel'nikov K D,Busol F I,Stepanova G I.Problem of the iodine method of purification of zirconium[J].The Soviet Journal of Atomic Energy,1958,4(2): 221-227.
〔13〕Emelyanov V S,Bystrov P D,Evstyukhin A I.An inves-tigation of the iodide method of refining zirconium Factors influencing the rate of the refining process[J].Journal of Nuclear Energy,1956,3(1): 121-131.
〔14 〕 王 永 勝 .稀 有 金 屬 碘 化 提 純 裝 置: 中 國,200920032810.X[P].2010-02-10.
〔15〕尹延西,胡志方,田麗森,等 .一種反應爐爐體風冷控溫裝置: 中國,201220594817. 2[P].2013-05-08.
〔16〕陳懷浩.結晶鋯生長系統及其方法: 中國.102011016B[P].2012-05-23.
〔17〕Kotsar M L ,Morenko O G,Shtutsa M G,et al.Obtai-ning of high-purity titanium,zirconium,and hafnium by the method of iodide refining in industrial conditions[J].Inorganic Materials.2010,46(3):282-290.
〔18〕Fast J D. ber die herstellung der reinen metalle der titan-gruppe durch thermische zersetzung ihrer jodide Ⅳ. Das auftreten niedrigere zirkonjodide bei der herstellung duk-tilen zirkons[J]. Zeitschrift für Anorganische und Allge-meine Chemie,1938,239(2):145-154.
〔19〕Doring H,Moliere K. ber die dissoziation von zirkonjodidan heissen metalloberflachen[J]. Zeitschrift fur Elektro-chemie,1952,56(4):403-408.
[20]吳享南,劉廣明.碘化法生產可鍛性鉿晶棒[J].稀有金屬,1998,22(2): 155-157.
〔21〕Raynor W M. In metallurgy of rarer metals-zirconium [M]. London:Butterworths Scientific Publications,1954:37-43.
〔22〕Shapiro Z M. The metallurgy of zirconium[M]. USA:McGraw-Hill Book Company,1955:135-215.
相關鏈接
- 2024-03-05 工業級鋯棒鋯管等鋯及鋯合金焊接的最新研究進展
- 2024-02-25 鋯棒鋯鍛件等鋯合金表面改性工藝的研究進展
- 2023-12-23 鋯棒廠家談鎢鋯合金反應結構材料的研究進展
- 2023-12-21 鋯棒廠家談高強韌鋯合金的發展與應用
- 2023-10-13 利泰金屬現貨供應化工用鎳棒 鋯棒 鈦合金棒 材質保證 規格齊全
- 2023-09-23 利泰金屬定制化工艦船用鈦環 TA5鈦棒 鋯棒 庫存充足 批量價優
- 2023-06-19 一站式概述鋯棒鋯板等鋯合金的性能、焊接工藝、應用
- 2023-04-28 現貨供應鈦鉭鈮合金 鉭棒 鎳棒 鋯棒 牌號齊全 支持定制
- 2023-02-21 熱銷醫用化工用鉭棒 鎳棒 鋯棒 材質保證 支持零切
- 2023-02-11 新型高強韌鋯合金發展與鋯棒鋯管等的應用領域

